High temperature and high pressure glass level gauge
Products overview:
ZW - UWB seriesHigh temperature and high pressure glass level gaugeCan be used to directly indicates the liquid level height in sealed container, has the structure is simple, intuitive and reliable, durable wait for an advantage, but in a container must be with steel, vulcanized fiber and graphite which do not corrode pressure ring.Under the liquid level meter is mainly composed of valve, valve, table, glass plate, plate, drain valve etc. Several major components.After improvement, liquid level gauge can no longer add other valves on both ends of the import and export, can remove the intermediate indicator for cleaning, keep furnace can add drain valve at the bottom of the liquid level gauge, in order to flush and drain in a timely manner.
Second, the working principle:
ZW - UWB series of high temperature and high pressure glass level gauge or taper pipe threads connected to the measured container connectors, observed through a glass plate surface and the container liquid level of the same level.Type level gauge on both ends of the needle valve not only ACTS as cut-off valve, its internal steel ball has the function of check valve leakage accident broken occurs when the liquid level meter, steel ball can be in medium pressure automatically closed fluid channel, to prevent from the enormous outflow liquid security protection.The level of material or change the parts to add some auxiliary parts can achieve anticorrosive, heat preservation, prevent the frost, lighting, and other functions.
Third, scope of application:
ZW - UWB series of high temperature and high pressure glass level gauge advanced production technology, complete testing equipment, product structure is simple, installation, maintenance convenience, not blocked, no leakage, good drainage performance.The products are widely used in petroleum, chemical, electric power, metallurgy, medicine and other fields, can be directly to all kinds of high, the low pressure seal container or open storage tank of liquid level.
Four, the main features:
1, clear liquid level display, intuitive, can realize steam red liquid green double color display;
2, 360 ° range can be arbitrary adjust visual direction (in the low voltage type);
3, the types of products, more complete, has pervious to light type and reflection type, heating type, frost prevention type, no blind area type, double color type, prevent ultraviolet lines, wide liquid chamber type, lighting type, type of high temperature, high pressure and high temperature and high pressure type to choose from;
4, sealing structure is reasonable, no leakage;
5, on, under the valve is fast cut off protection device, safe and reliable;
6, with vent plug and drain valve.
Five, the technical parameters:
1, pressure rating: 2.5, 4.0, 6.3, 10.0, 16.0, 20.0, 25.0 MPa
2, the operating temperature: - 196 ℃ ~ 400 ℃
3, the standard center distance: 500800110, 0140, 0170 mm (can be produced according to user requirements)
4, standard visual range: 255550845114, 0143, 5 mm (can be produced according to user requirements)
5, heating steam pressure: 0.6 MPa or less
6, heating jacketed interface: within 1/2 "NPT thread
7, the valve automatically closed pressure: 0.3 MPa or less
8, connecting flange standards: HG20592 ~ 20635-97-3/4 "(flange standard, diameter, pressure and type of sealing surface differ according to user requirements production)
9, threaded connection interface: G3/4 "external thread
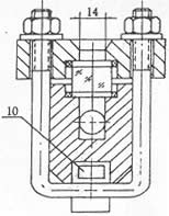
Vi.Exterior size chart:
3. (1) needle valve type (2) ontology gland 4. Liner 5. Glass 6. Nut 7. 8. Gasket u-bolt 9. Stud 10. The heating jacket
|
|
|
|
Seven, classification and scope of use:
1, according to the principle of work can be divided into: transmission type and reflection type two kinds, the use scope is as follows:
A, pervious to light glass level gauge is mainly used for observation of opaque or colored liquid level;
B, reflective glass level gauge is mainly used for observation of colorless, transparent liquid level;
2, according to the operating temperature can be divided into: normal and high temperature type two kinds, the specific scope is as follows:
A, ordinary glass level gauge is mainly used for pressure level is less than or equal to PN6.4 MPa, the operation of the measured medium temperature less than or equal to 250 ℃.
B type, high temperature and can be divided into: high temperature and low pressure type, high temperature and medium pressure and high temperature and high pressure, the specific scope is as follows:
1), high temperature and low pressure type glass level gauge is mainly used for pressure level is less than or equal to PN4.0 MPa, the operation of the measured medium temperature greater than 250 ℃, and less than or equal to 400 ℃.
2), high temperature and medium pressure type glass level gauge is mainly used for pressure level is less than or equal to PN6.4 MPa, the operation of the measured medium temperature greater than 250 ℃, and less than or equal to 400 ℃.
3), high temperature and high pressure type glass level gauge is mainly used for pressure level is less than or equal to PN25.0 MPa, the operation of the measured medium temperature greater than 250 ℃, and less than or equal to 400 ℃.
3, according to the grades of pressure can be divided into: low pressure type, medium pressure and high pressure three types, specific scope is as follows:
A, low voltage type glass level gauge is mainly used for pressure level is less than or equal to PN4.0 MPa, the operation of the measured medium temperature less than or equal to 250 ℃.
B, medium-pressure type glass level gauge is mainly used for pressure level is less than or equal to PN6.4 MPa, the operation of the measured medium temperature less than or equal to 250 ℃.
C, high-pressure type glass level gauge is mainly used for pressure level is less than or equal to PN25.0 MPa, the operation of the measured medium temperature less than or equal to 250 ℃.
Eight, the difference between the glass level gauge and glass tube liquid level meter:
Liquid level meter is a common flow measurement instruments, has a certain application in multiple industries.The kinds of liquid level meter is very much, the glass tube liquid level meter and glass level gauge are common type, everyone looked for the difference between the two?Small make up today is to introduce specific glass tube liquid level meter for everyone and the difference between the glass level gauge, the hope can help to you.
1, the glass tube liquid level meter:
According to the using glass tube liquid level meter can have various forms, undemanding can roughing self-control, precision of liquid level in container available relatively flat and smooth and thick glass tube (reduce capillarity) combined with more sophisticated vernier scale to reading.
In the glass tube with container connected with floating magnet steel (also called float) 1, up and down on the outside of the glass tube end to reed relays 2, as such, when float near thousand reed relays, relay switch action, can be carried out on the liquid level of the upper and lower control or alarm.
Glass tube liquid level gauge is suitable for low pressure sealed containers, exposure, or level of direct instructions.
2, glass level gauge:
Its structure is in the open with grooves on thick toughened glass plate 1, 2 liquid is connected with the container bottom with metal pipe, top with metal tube connected to the container above the liquid surface asked 3, equipped with valve 4 connected to the container, in order to operate.
Glass level gauge ability of high pressure (up to 40 kg/cm2), can a variety of medium level (such as water, weak base, liquid ammonia, all kinds of oil, benzene, isopropyl copper, drunk, etc.), if you want from a large range of liquid level measurement, such as 3 to 4 meters, can connect several piece of glass plate up meters, composed of both the large range, and high pressure resistant glass level gauge.
Nine, the level of installation, use and maintenance:
1, in order to ensure the automatic close more than plan, containers within the medium pressure shall not be less than 0.2 MPa, when open the upper and lower valve, the valve stem exit turn number not less than 4 turn (make steel ball FengMen, don't run into the top of the stem).
2, the use of the instrument should be check regularly.Clean the glass inside and outside wall of dirt, make clear liquid level display.
3, maintenance assembly glass when tightening bolts, please pay close attention to the glass broken uneven.Therefore, bolts must be strictly according to the chart 1, 2, 3 ┈ ┈ ┈ 10, 11 and 12 order crossover points repeatedly clamping plate glass.
Ten, use notice:
For maintenance glass plate level gauge, there are so few key is to be aware of.
1, often operation should be attention to the level of appearance whether there is a stain or leakage, such as a stain or residual liquid no clear in time, easy to produce corrosion to gauge ontology, can also affect the level measurement data read.
2, medium temperature is higher, the need to pay attention to maintenance, at the end of the maintenance every time, don't fully open valve to slowly let the medium into the measuring tube, prevent the measuring tube rupture caused by the temperature difference is too large.
3, when the container is pressure, remember do not use, overpressure must run within the specified scope.
4, when the measuring tube cleaning need to pay attention to use appropriate cleaner, with a long pole brush cleaning, remove dirt inside.
5, regular open the drain valve of the glass level gauge measuring pipe internal product leave stains on emissions.
Eleven,Selection of code:
Plant code | Model specification | |||||||
ZW-UWB | In the glass level gauge (wei and control) | |||||||
1 | Pervious to light type, generally used for colorless transparent liquid, light is good | Basic types of | ||||||
2 | Pervious to light with the steam jacket, used for liquid medium thick, easily frozen | |||||||
3 | Reflection type, a bit like a show to colour and lustre of liquid, and the light good occasion | |||||||
4 | Reflex zone steam jacket for viscous, nonpolar liquid medium | |||||||
5 | Frost prevention type, used in low temperature | |||||||
6 | The illuminated for low light situations | |||||||
G | Modified to ZW - UWB is flange connection | Type of installation | ||||||
A | Carbon steel | The main body material | ||||||
B | 1Cr18Ni9Tior304SS | |||||||
C | 316SSor316L | |||||||
1 | 300mm | 4 | 1100mm | Measuring range | ||||
2 | 500mm | 5 | 1400mm | |||||
3 | 800mm | 6 | 1700mm | |||||
Twelve, design selection order information:
1, model specifications;
2, measurement range;
3, working pressure, and temperature;
4, material;
5, special requirements;
6, whether supporting supply vessel flange, bolts, nuts, valves and accessories such as sealing washer.
After-sales service commitment:
Level 1, I companies sell products within twelve months appear quality problem, is responsible for free maintenance.
2, the warranty period, any quality problems such as the products of our company, my company is responsible for free repair or replacement.
3, the warranty period, such as user improper use, damaged products, my company is responsible for the maintenance, charge damage parts cost.
4, after the warranty period appear quality problem, my company is responsible for the maintenance, charge damage parts cost.
5, such as user need to my company site services, to users in the province I company service personnel to reach the site within 12 hours, fujian association of foreign languages and user reach the site within 48 hours.





